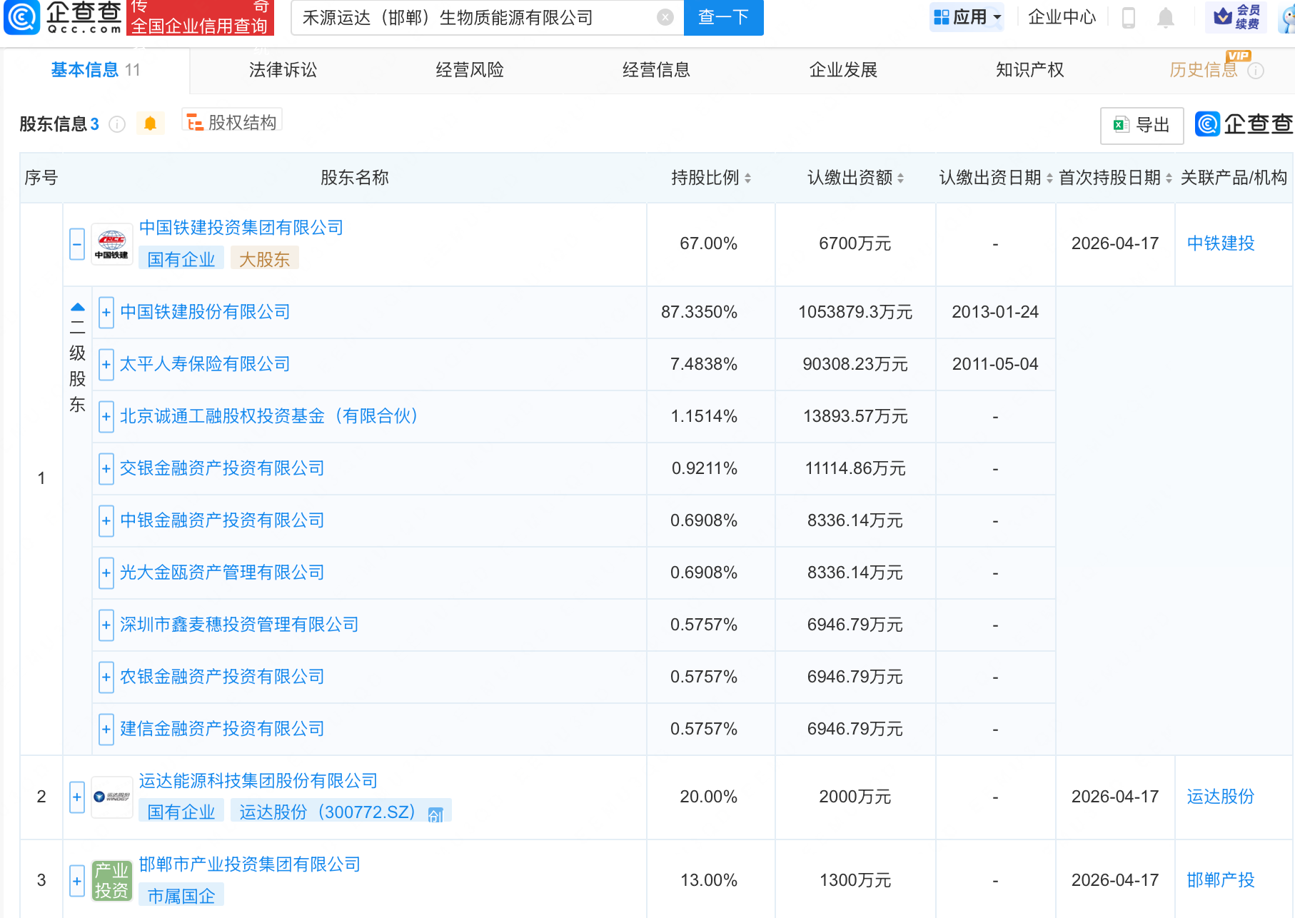
近日,禾源运达(邯郸)生物质能源有限公司成立,注册资本1亿元,经营范围包含:生物质成型燃料销售;生物质能技术服务;生物质液体燃料生产工艺研发等。企查查股权穿透显示,该公司由中国铁建(601186)旗下中国铁建投资集团有限公司、运达股份(300772)等共同持股。
胜亿优配提示:文章来自网络,不代表本站观点。
本文评分*
评论内容*
你的昵称*
你的邮箱*